DMIT好不好?DMIT在2025年圣诞放出了圣诞特价套餐,LAX.EB系列,1核1G20G磁盘,2Gbps带宽,2000GB月流量的套餐,只需要$49.9/年,线路是回程走9929 + CMIN2,去程电信CN2 GIA、联通AS9929、移动CMIN2,三网优化。主机情报社带来了LAX.EB系列的测评,给大家作参考。
硬件信息如下,CPU事AMD EPYC 9654:

FIO检测,磁盘读写性能真的很给力:

UnixBench跑分,单核能上1000分都是很牛逼的了:

下面用宝塔面板中的宝塔性能测试再测一遍:
基本信息
磁盘测速
性能测试

网络测速
二、网络情况
先看看丢包率,网络情况很好,0丢包:

丢包率
超级ping检测,延迟非常不错:


超级ping
本地ping的情况如下,四川电信ping基本上165ms左右:

本地ping
上下行测试,2Gbps带宽不是盖的:

上下行
早10:30本地下载测试,电信家宽:

回程线路看一下,先看简单粗暴的一键测三网回程:

回程线路
再看一下详细的不同线路的回程路由情况:

电信回程

联通回程

移动回程
下面再简单看一下去程路由情况

电信去程

联通去程

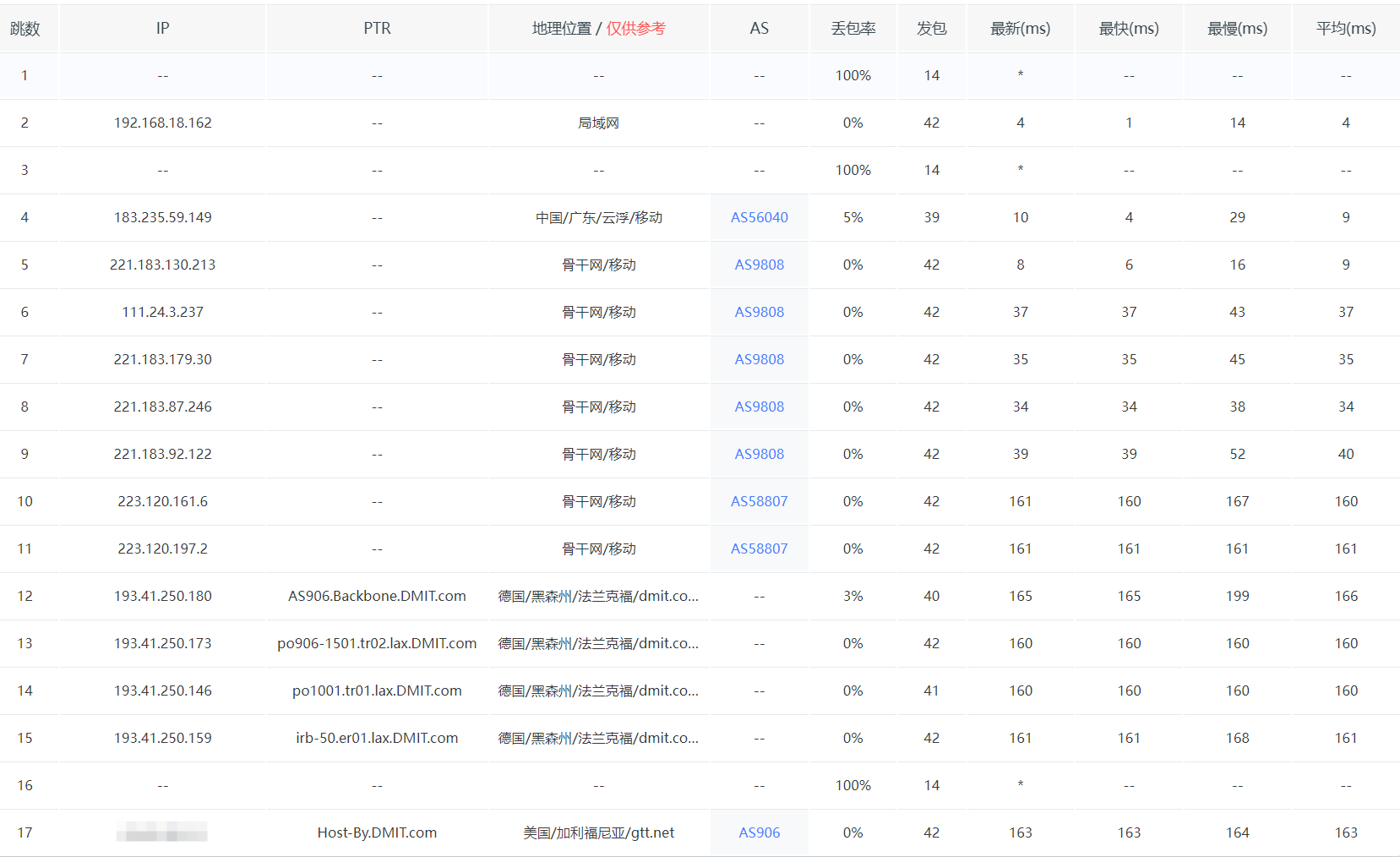
移动去程
流媒体解锁检测情况如下:

奈非解锁














aipay无法跳转充值,咋整呢
用了几天,发现不分联通电信,在傍晚高峰期都会变得很慢。总体能用,这么便宜还要什么自行车
另外联通测速很好 10M+,电信下载只有100k,上传倒是很快